| 枕形校正电路的快速检修技巧(四) | 
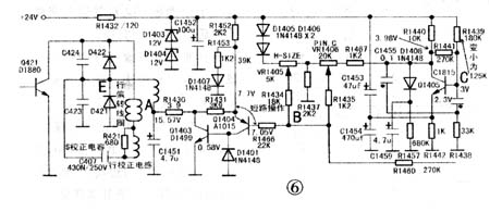
|   例5:TCL2509N型机,行幅稍大有失真现象,但失真并不严重。 
   首先测得A点电压为15.57V,偏低(正常值为23V);短路Q1404的e、b极行幅立即缩小,表明从B点到E点之间的电路正常并可控制。测电路中各三极管的直流工作电压,Q1405 b极由正常的2.5V升为3V;c极由正常的6.6V降为3.98V。由三极管的放大原理可知c极电压的降低有可能是本身b极电位升高所致。于是重点检查R1441、R1440、R1439。最后测得R1439由正常的180kfl变小为125kΩ。将其换后故障排除,各关键点电压均恢复为正常值。 
 开机测得A点电压为OV,快速短路Q1404的e、c极,故障不变。A点电压仍为OV,这说明故障就在B、E点之间。测得Q1403证常,断开Q1403的c极故障依旧。测得E点交流电压值为OV,关机再测E点对地电阻为m,怀疑D421(RFl04)短路,取下测量确属短路,更换后试机,故障排除 | 
			版权声明:本文为转载文章,版权归原作者所有,欢迎分享本文,转载请保留出处!
			
		
		
		
		
		
		
	 
								
