一、 LS07机芯主要集成电路:
序号 |
位号 |
型号 |
主要功能 |
| 1 |
A1 |
TAF5-C2IP1RW |
高频头 |
| 2 |
U8、U21 |
TDA1517AWT |
音频功放 |
| 3 |
U3 |
MST518 |
模数转换及格式变换 |
| 4 |
U2 |
UOC(TDA15063H) |
视频解码及MCU控制 |
| 5 |
Q9 |
Si2311DS |
MOS开关管 |
| 6 |
U11、U12 |
IRF7316 |
MOS开关管 |
| 7 |
U19 |
NTMS10P02 |
MOS开关管 |
| 8 |
U23 |
LM2596-5.0 |
稳压IC |
| 9 |
U1 |
24LC21A |
EEPROM(保存显示器参量信息) |
| 10 |
U4 |
24LC32A |
EEPROM(保存用户控制信息) |
| 11 |
U6、U20 |
PI5V330A |
视频切换开关 |
二、主要集成电路功能介绍
- MST518高集成芯片
MST518是一块为液晶设计的高性能、高集成度的图像处理芯片,能支持到SXGA格式(1280×1024)。它集成了一组高性能模数转换器、高质量格式变换系统、OSD发生器、输出时钟产生器、多格式输出显示接口(支持TTL、LVDS、RSDS)
MST518功能特点:
● 具有高质量的扩展变换和压缩变换,可输出XGA模式信号
● 内部集成LVDS电路
● 内置8位高质量ADC
● 双VGA通道输入,软件进行切换
● 支持ITU-656格式信号输入
● 支持H/V Sync、复合同步、绿复合同步的输入,并自动检测
● 可编程10位Gamma校正,亮度、对比度可调
● 8色、256字符OSD
● 内建DDC电路
● 低待机功耗
● 支持TTL、双点LVDS信号输出,软件进行切换
MST518引脚功能:
| 与CPU接口 |
||
| 引脚 |
引脚名称 |
引脚功能 |
| 33 |
HWRESET |
硬复位,高电平有效 |
| 82 |
CS |
三线串行总线的片选信号 |
| 83 |
SDA |
三线串行总线的数据信号 |
| 84 |
SCL |
三线串总线的时钟信号 |
| 85 |
INT |
芯片中断 |
| 98-91 |
AD [7:0] |
并行总线,此机芯未用 |
| 125 |
BUSTYPE |
总线类型选择 |
| Analog Interface |
||
| 38 |
HSYNC0 |
模拟行同步信号输入通道0 |
| 39 |
VSYNC0 |
模拟场同步信号输入通道0 |
| 40 |
HSYNC1 |
模拟行同步信号输入通道1 |
| 41 |
VSYNC1 |
模拟场同步信号输入通道1 |
| 78 |
RMID |
Scaler内部参考电压 |
| 79 |
REFP |
内部ADC退耦+ |
| 80 |
REFM |
内部ADC退耦- |
| 75 |
RIN0 |
模拟红信号输入通道0 |
| 74 |
RIN0M |
模拟红信号输入通道0参考地电位 |
| 73 |
SOGIN0 |
绿同步信号输入通道0 |
| 72 |
GIN0 |
模拟绿信号输入通道0 |
| 71 |
GIN0M |
模拟绿信号输入通道0参考地电位 |
| 70 |
BIN0 |
模拟蓝信号输入通道0 |
| 69 |
BIN0M |
模拟蓝信号输入通道0参考地电位 |
| 66 |
RIN1M |
模拟红信号输入通道1参考地电位 |
| 65 |
RIN1 |
模拟红信号输入通道1 |
| 64 |
GIN1M |
模拟绿信号输入通道1参考地电位 |
| 63 |
GIN1 |
模拟绿信号输入通道1 |
| 62 |
SOGIN1 |
绿同步信号输入通道1 |
| 61 |
BIN1M |
模拟蓝信号输入通道1参考地电位 |
| 60 |
BIN1 |
模拟蓝信号输入通道1 |
| 55 |
REXT |
外接390欧姆到3.3伏电压 |
| LCD Interface |
||
| 145 |
OCLK |
时钟输出 |
| 146 |
LDE |
使能信号 |
| 144 |
LVSYNC |
场同步输出 |
| 143 |
LHSYNC |
行同步输出 |
| 138 |
LVA0M |
LVDS低压差分信号输出0- |
| 137 |
LVA0P |
LVDS低压差分信号输出0+ |
| 136 |
LVA1M |
LVDS低压差分信号输出1- |
| 135 |
LVA1P |
LVDS低压差分信号输出1+ |
| 134 |
LVA2M |
LVDS低压差分信号输出2- |
| 133 |
LVA2P |
LVDS低压差分信号输出2+ |
| 128 |
LVA3M |
LVDS低压差分信号输出3- |
| 127 |
LVA3P |
LVDS低压差分信号输出3+ |
| 132 |
LVACKM |
LVDS低压差分时钟信号输出- |
| 131 |
LVACKP |
LVDS低压差分时钟信号输出+ |
| 26-23,18-15 |
RB[7:0] |
TTL红色信号通道 |
| 14-11, 8-5 |
GB[7:0] |
TTL绿色信号通道 |
| 4,3,154,153,150-147 |
BB[7:0] |
TTL蓝色信号通道 |
| GPIO Interface |
||
| 87 |
GOUT1/PWM1 |
脉宽调制输出1 |
| 86 |
GOUT0/PWM0 |
脉宽调制输出0 |
| 2 |
BYPASS |
外接虑波电容 |
| 29 |
DDC_DAT |
模拟接口DDC数据 |
| 30 |
DDC_CLK |
模拟接口DDC时钟 |
| 31 |
DDCROM_CLK |
DDC ROM时钟 |
| 32 |
DDCROM_DAT |
DDC ROM数据 |
| 34 |
XIN |
晶振信号输入 |
| 35 |
XOUT |
晶振信号输出 |
| Power Pins |
||
| 48, 54, 58, 77 |
AVDD |
模数转换器电源 |
| 56 |
AVDD_PLL |
锁相环电源 |
| 36 |
AVDD_MPLL |
MPLL 电源 |
| 10, 22, 88, 99, 111, |
VDDP |
数字信号输出电源 |
| 19, 102, 114, 142 |
VDDC |
数字电路电源 |
| 1, 9, 20, 21, 37, 42, |
GND |
数字电路地 |
MST518内部框图:[Page]
2. TDA15063H简介:
飞利浦公司最新推出的第三代超级单片集成电路UOC III在单一系列管脚兼容的IC上集成了视频解码器、2D梳形滤波器、高品质音频处理技术、适用于欧洲的图文电视广播(Teletext)技术,以及适用于美国的闭路字幕(Closed Caption)和V-chip功能。UOCIII系列具有高集成度,除可以完成所有小信号(中频解调、视频解码、行场小信号、伴音DSP等)处理外,还集成了全部MCU功能,具有电路简洁、性能优良、工艺简单等优点,符合公司高性价比、高生产效率的要求。它适用于4:3或16:9、50/60Hz和100/120Hz的电视系统,有以下主要特点:
● 多制式中频解调、摸拟视频解码
● 内置梳状滤波器
● 支持4:3,16:9的显示格式
● 4路CVBS或3路Y/C输入,1路CVBS输出,2路YCrCb/2路RGB输入
● 4路AV声道音频输入,1路AV可调音量音频输出
● 音量自动电平控制电路
● 全球FM伴音解调
● 动态峰值控制、肤色校正、Gamma校正、黑电平延伸等画质增强
● 能够关断行场偏转扫描部分,输出H/V同步信号给Scaler
● 内置128K Flash Memory,支持高速I2C在线编程
● 自动亮色信号模式识别
TDA15063H引脚功能:
引 脚 |
引 脚 名 称 |
引 脚 功 能 |
| 1 |
VSSP2 |
接地 |
| 2 |
VSSC4 |
接地 |
| 3 |
VDDC4 |
+1.8V |
| 4 |
VDDA3 |
+3.3V |
| 5 |
VREF_POS_LSL |
+3.3V |
| 6 |
VREF_NEG_LSL+HPL |
0V |
| 7 |
VREF_POS_LSR+HPR |
+3.3V |
| 8 |
VREF_NEG_HPL+HPR |
0V |
| 9 |
VREF_POS_HPR |
+3.3V |
| 10 |
XTALIN |
晶振输入 |
| 11 |
XTALOUT |
晶振输出 |
| 12 |
VSSA1 |
接地 |
| 13 |
VGUARD/SWIO |
保护电压输入或做I/O |
| 14 |
DECDIG |
DECDIG信号输出 |
| 15 |
VP1 |
+5V |
| 16 |
PH2LF |
第二级行锁相滤波 |
| 17 |
PH1LF |
第一级行锁相滤波 |
| 18 |
GND1 |
接地 |
| 19 |
SECPLL |
SECAM锁相环退耦 |
| 20 |
DECBG |
内部参考电压退耦 |
| 21 |
EWD/AVL |
VDD5A电压输入 |
| 22 |
VDRB |
TV场同步信号输出 |
| 23 |
VDRA |
场同步输出 |
| 24 |
VIFIN1 |
VIF输入1 |
| 25 |
VIFIN2 |
VIF输入2 |
| 26 |
VSC |
外接场锯齿电容 |
| 27 |
IREF |
参考电流输入 |
| 28 |
GNDIF |
IF接地 |
| 29 |
SIFIN1 |
SIF输入1 |
| 30 |
SIFIN2 |
SIF输入2 |
| 31 |
AGCOUT |
高频头AGC控制电压输出 |
| 32 |
EHTO |
EHT/过电压保护输入 |
| 33 |
SSIF |
MUTE控制信号输出 |
| 34 |
AUDIOIN5L |
AV左声道信号输入 |
| 35 |
AUDIOIN5R |
AV右声道信号输入 |
| 36 |
AUDOUTSL |
SCART/CINCH左声道输出 |
| 37 |
AUDOUTSR |
SCART/CINCH右声道输出 |
| 38 |
DECSDEM |
声音解调器退耦 |
| 39 |
QSSO |
去加重电容 |
| 40 |
GND2 |
接地 |
| 41 |
PLLIF |
IF_PLL锁相环滤波 |
| 42 |
SIFAGC |
声音中频自动增益控制 |
| 43 |
IFVO |
IF解调视频输出 |
| 44 |
FMRO |
FM广播输出 |
| 45 |
VCC8V |
声音转换开关的供电电压 |
| 46 |
AGC2SIF |
第二伴音中频自动增益控制 |
| 47 |
VP2 |
+5V |
| 48 |
IFVO |
选择通道的视频输出 |
| 49 |
AUDIOIN4L |
高清信号的左声道音频输入 |
| 50 |
AUDIOIN4R |
高清信号的右声道音频输入 |
| 51 |
CVBS4/Y4 |
S端子亮度信号输入 |
| 52 |
C4 |
S端子色度信号输入 |
| 53 |
AUDIOIN2L |
PC信号的左声道音频输入 |
| 54 |
AUDIOIN2R |
PC信号的右声道音频输入 |
| 55 |
CVBS2/Y2 |
AV复合视频信号输入 |
| 56 |
AUDIOIN3L |
内置DVD模块的左声道音频输入 |
| 57 |
AUDIOIN3R |
内置DVD模块的右声道音频输入 |
| 58 |
CVBS3/Y3 |
内置DVD模块的亮度信号输入 |
| 59 |
C2/C3 |
内置DVD模块的色度信号输入 |
| 60 |
AUDOUTLSL |
主通道左声道输出 |
| 61 |
AUDOUTLSR |
主通道右声道输出 |
| 62 |
AUDOUTHPL |
耳机通道左声道输出 |
| 63 |
AUDOUTHPR |
耳机通道右声道输出 |
| 64 |
CVBS/PIP |
CVBS/PIP输出 |
| 65 |
SVM |
扫描调制输出 |
| 66 |
FBISO |
沙堡脉冲信号输出 |
| 67 |
HOUT |
行同步信号输出 |
| 68 |
VSScomb |
接地 |
| 69 |
VDDcomb |
+5V |
| 70 |
VIN |
V信号输入 |
| 71 |
UIN |
U信号输入 |
| 72 |
YIN |
Y信号输入 |
| 73 |
YSYNC |
为同步分离提供的Y信号输入 |
| 74 |
YOUT |
Y信号输出 |
| 75 |
UOUT |
U信号输出 |
| 76 |
VOUT |
V信号输出 |
| 77 |
INSSW3 |
RGB/YPbPr插入识别信号输入 |
| 78 |
R/PrIN3 |
R/Pr信号输入 |
| 79 |
G/YIN3 |
G/Y信号输入 |
| 80 |
B/PbIN3 |
B/Pb信号输入 |
| 81 |
GND3 |
接地 |
| 82 |
VP3 |
+5V |
| 83 |
BCLIN |
束电流限制输入 |
| 84 |
BLKIN |
黑电流输入 |
| 85 |
RO |
R基色信号输出 |
| 86 |
GO |
G基色信号输出 |
| 87 |
BO |
B基色信号输出 |
| 88 |
VDD3 |
+3.3V |
| 89 |
VREFAD_NEG |
0V |
| 90 |
VREFAD_POS |
+3.3V |
| 91 |
VREFAD |
音频ADC的参考电压 |
| 92 |
GNDA |
接地 |
| 93 |
VDDA |
+1.8V |
| 94 |
VDD3A |
+3.3V |
| 95 |
VSSADC |
接地 |
| 96 |
VADC |
+1.8V |
| 97 |
INT0 |
遥控信号输入 |
| 98 |
P10/INT1 |
DPF时钟线 |
| 99 |
P11/T0 |
DPF数据线 |
| 100 |
VDDC2 |
+1.8V |
| 101 |
VSSC2 |
接地 |
| 102 |
P04/12SWS |
MST复位信号 |
| 103 |
P03/12SCLK |
HD_PC选择控制信号 |
| 104 |
P02/12SDO2 |
功放待机控制信号 |
| 105 |
P01/12SDO1 |
TV_DPF选择控制信号 |
| 106 |
P00/12SDII/O |
开机控制信号 |
| 107 |
P13/T1 |
MST片选信号 |
| 108 |
P16/SCL |
UOCI2C总线的时钟线 |
| 109 |
P17/SDA |
UOCI2C总线的数据线 |
| 110 |
VDDP |
+3.3V |
| 111 |
P20/TPWM |
红色指示灯控制信号 |
| 112 |
P21/PWM0 |
绿色指示灯控制信号 |
| 113 |
P22/PWM1 |
屏供电控制信号 |
| 114 |
P23/PWM2 |
内置DVD模块供电控制信号 |
| 115 |
P30/ADC0 |
预留的IO口 |
| 116 |
P31/ADC1 |
耳机插入识别信号输入 |
| 117 |
VDDC1 |
+1.8V |
| 118 |
VDD18 |
+1.8V |
| 119 |
P32/ADC2 |
DVD按键信号输入 |
| 120 |
P33/ADC3 |
TV按键信号输入 |
| 121 |
VSSC |
接地 |
| 122 |
P24/PWM3 |
背灯控制信号输出 |
| 123 |
P25/PWM4 |
声表面滤波器控制信号 |
| 124 |
VDDC3 |
+1.8V |
| 125 |
VSSC3 |
接地 |
| 126 |
P12/INT2 |
MST中断信号输入 |
| 127 |
P14/RX |
MST数据线 |
| 128 |
P15/TX |
MST时钟线 |
TDA15063H内部框图:[Page]
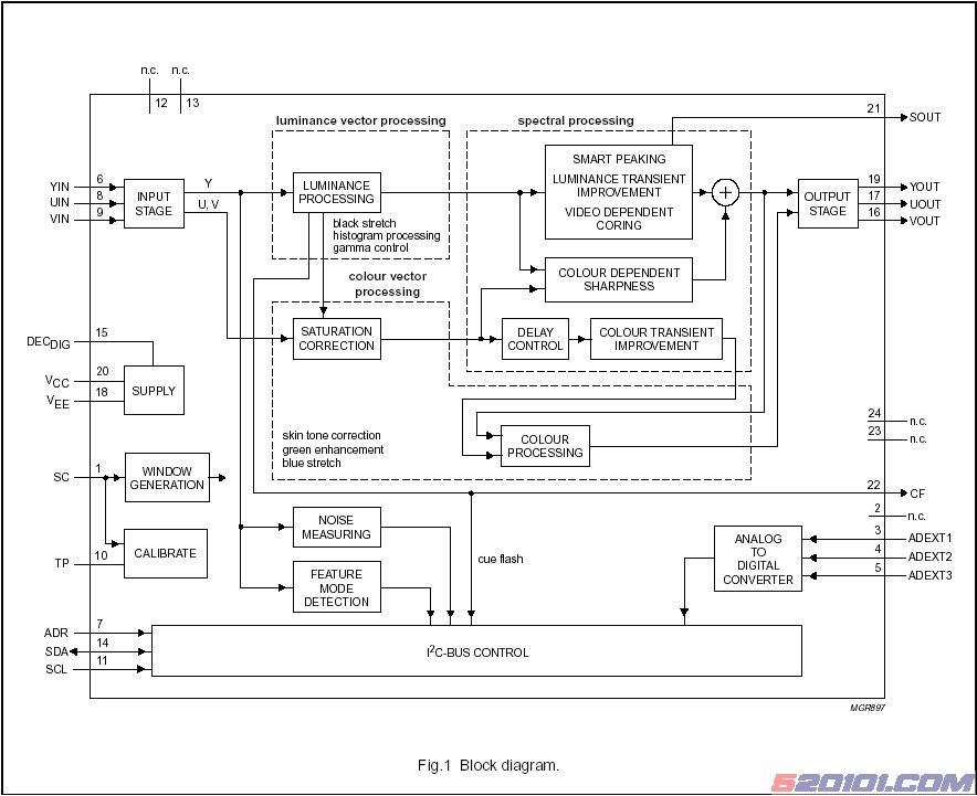
- TDA9178简介
TDA9178是一个带有标准YUV输入输出接口的模拟视频信号处理器,它提供了三个主要处理功能:亮度矢量,色度矢量及频谱处理,它能独立完成全面的图象改善工作。它有以下特点:
- 亮度边沿校正LTI、彩色边沿校正CTI;
- 伽马校正;
- 自适应黑白电平延伸控制;
- 线宽调整;
- 噪声测量及降噪处理功能;
- 肤色校正、绿增强、蓝延伸。
TDA9178引脚功能:
引脚 |
引脚名称 |
功能 |
| 1 |
sandcastle input |
沙堡脉冲输入 |
| 2 |
not connected |
接地 |
| 3 |
ADC input 1 |
模数转换器输入1 |
| 4 |
ADC input 2 |
模数转换器输入2 |
| 5 |
ADC input 3 |
模数转换器输入3 |
| 6 |
luminance input |
Y输入 |
| 7 |
address selection input |
I2C地址选择输入端 |
| 8 |
U signal input |
U输入 |
| 9 |
V signal input |
V输入 |
| 10 |
test pin |
接地 |
| 11 |
serial clock input (I2C-bus) |
I2C总线时钟信号 |
| 12 |
not connected |
不接 |
| 13 |
not connected |
不接 |
| 14 |
serial data input/output (I2C-bus) |
I2C总线数据信号 |
| 15 |
decoupling digital supply |
外接退耦电容 |
| 16 |
V signal output |
V信号输出 |
| 17 |
U signal output |
U信号输出 |
| 18 |
ground |
地 |
| 19 |
luminance output |
Y信号输出 |
| 20 |
supply voltage |
供电 |
| 21 |
SCAVEM output |
扫描速率调制输出 |
| 23 |
not connected |
接地 |
| 24 |
not connected |
接地 |
- TDA1517AWT简介
TDA1517AWT是一款双声道AB类功放集成电路,本机芯一片作单声道应用,以减少发热量。工作电源范围宽,因而广泛应用于电视系统,它有以下特点:
● 外部电部(路)简单;
● 静音、待机状态可控制;
● 温度保护电路;
● 开关低噪声;
● 固定增益。
TDA1517引脚功能:
引脚 |
引脚名称 |
功能 |
| 3 |
non-inverting input |
音频输入 |
| 5 |
supply voltage ripple rejection |
偏置电路滤波 |
| 8、9 |
output |
音频输出 |
| 12、13 |
N.C. |
不接 |
| 15、16 |
supply voltage |
+12V电源 |
| 17 |
mode select switch |
工作模式选择 |
| 18 |
inverting input |
反相输入端(在此接电容到地) |
| 1、2、4、6、7、10、11、14、19、20 |
GND |
地 |

