索尼G3F机心的行场保护电路设计比较特别。它的电源 部分没有设置过流保护电路,而该机的场输出电路又较为特殊。 该机芯在行、场扫描电路分别设置了保护电路。当异常时,这些保护电路使CPU发出待机指令,电源主电压停止输出,达到保护整机的目的。下面分析其保护电路的工作原理。
 一、场输出部分的保护电路原理
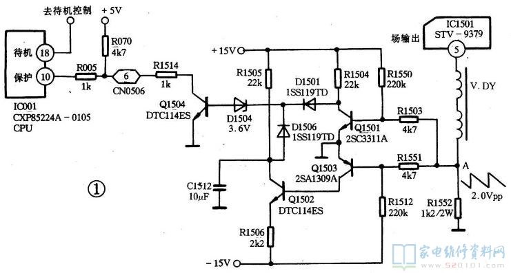
 场输出部分的保护电路见图1,主要由Q1501~Q1504组 成。索尼G3F机芯彩电的场输出芯片IC1501(STV-9379)为OCL 型功放,因而要求IC1501 (5)脚的场输出静态电位为0V。如果该脚的静态电位不为0V,则场扫描偏转线圈会因静态电流过大而烧毁。场输出保护电路为此而设置,其工作原理为:在正常状况下,IC1501的(5)脚为0V,A点电位也为0V,因 此Q1501导通,D1501截止,D1504截止,Q1504截止,使CPU 的(10)脚为高电平,保护电路不动作,整机处于正常工作状态。同 样,A点的0V使Q1503导通,Q1502导通,D1506截止,D1504 截止,Q1504截止。 
 
 当IC1501异常,使A点电位低于0V时,则Q1501截止, D1501导通,D1504导通,Q1504导通,使一个低电平信号送入CPU的(10)脚,CPU通过(18)脚发出待机命令(高电平),整机处于保护状态(即待机状态)。
 如果IC1501异常,使A点电位高于0V,则Q1503 截止,Q1502 截止,D1506 导通,D1504导通,Q1504导通,送入一个低电平信号给CPU的(10)脚,整机将处于保护状态。另外,如果行输出级提供的-15V电压因故障消失为0V,也会引起保护电路动作。这时Q1502、Q1503不可能导通,于是D1506、D1504、Q1504导通,CPU的(10)脚也将被置为低电平。 
 
 
 二、行输出部分的保护电路原理
 行输出部分的保护电路见图2。 
  
 
 在这个电路中,D824、D825、D1502等元器件组成X射线保护电路;R886、Q803、D1505等元器件组成行输出级过流保护电路。显像管工作时会产生X射线,当显像管阳极电压过髙时,X射线会超出规定的范围,影响收视者的身体健康。X射线保护就是显像管阳极电压过高保护,而阳极电压由行扫描逆程脉冲整流后产生。所以,只要对行扫描逆程脉冲的幅度进行检测及控制,便能实现X射线保护。
 在正常情况下,行扫描偏转线圈的连接端子③有240VHpp行扫描逆程脉冲。若发生异常情况致使该脉冲幅度增大,此脉冲经D824整流后在C875上的电压也增大,C875上的电压经R894、R898、R895 分压后使 D825、D1502 导通,于是 IC304(CXA1587S)的(9)脚和 IC001(CXP85224A-0105)的(43)脚获得高电平。IC304(CXA1587S)将停止在(18)脚输出行扫描激励脉
 冲,IC001将在(18)脚输出高电平的待机命令,整机处于待机保护状态。
 R886为行扫描输出级过流检测电阻(在索尼KV-F29MF1型彩电中,该电阻阻值为1欧姆)。+ 135V电压经R886流人T801'的②脚,为行输出级提供工作电流。正常情况下,行输出级工作电流较小,R886两端电压降也较小,此时,0803截止,保护电路不动作。如果因某种原因使行扫描输出级发生过流,则R886两端电压降增大,使CK03导通,D1505导通。这使得IC304的(9)脚和IC001的(43)脚均获得高电平,于是整机处于待机保护状态。 
 
 
 三、故障维修实例
 故障现象:开机声图正常。工作一段时间后,机器自动进人待机状态。用遥控器可使机器启动,但过一会故障又发生。故障分析与检测:由于机器基本上能正常工作,进入待机状态后,可用遥控器使其开机,说明机器只是由于某种原因进入保护状态。
 首先应确认机器进入待机状态的原因是由于CPU输出待 机命令,还是由于电源待机控制电路故障造成的。经测试 IC001的(18)脚为髙电平,确认是因为CPU输出了待机命令,从 而使整机进人了待机状态。
 第二步检査造成CPU输出待机命令的原因。我们知道CPU输出待机命令除了正常情况下的遥控关机外,还有三个原因造成CPU输出待机命令:一是CPU本身故障;二是场输出电 路故障;三是行输出电路故障。由于机器故障发生后CPU还能 接收遥控器发出的指令,使机器由待机状态恢复到正常工作状 态,因此,可以基本排除CPU本身故障的可能性,可以基本确认 造成CPU输出待机命令的原因是行、场电路故障引起的。由于 故障发生后,机器处于待机状态,大部分电路都处于不工作状 态,因此,发生故障后没法测试产生故障的原因,只能动态监测 CPU的保护输人引脚:⑩脚场保护输入和43脚X射线保护输入引脚。经监测发现⑩脚电平稳定在髙电平状态(在约5V),(43)脚在刚开机时是低电平(接近0V),机器工作一段时间后,电压上升到1.2〜1.8V间,且不稳定,偶尔电压上升幅度较髙,机器进 入待机状态。根据监测的结果,说明引起CPU输出待命令的原 因是(43)脚X射线保护有效,导致其输出待机命令。 
第三步检査引起CPU(43)脚电压上升的原因。根据前面的 分析知道,(43)脚X射线保护引脚与行输出电路有关。行输出电路工作电流较髙,或者行电压过高导致X射线超标,都要产生 一个髙电平送给CPU的(43)脚,使整机进人待机状态,从而达到保护目的。为了快速判断故障点,采用分割故障范围的办法,断开二极管D1505。加电测试,IC001的(43)脚始终为低电平,机器工作也正常,说明故障在行工作电流保护电路上。经测试三极管Q803及其外围电路,发现电阻R886的阻值比其标称值要 髙,达2.5n左右,而且用电烙铁对其加热时,其电阻值上升为几十欧。因此,故障原因是电阻R803变质,且其热稳定性变差。更换电阻R803,故障排除。
