彩电有字符显示,但字符显示异常,这种故障发生在字符显示电路。彩电的字符显示电路,由性能良好、功能齐全的屏幕字符显示专用的4位单片微处理器(CPU)内部屏显电路及外围元件组成。通常,彩电使用显像管进行字符显示,所以某些光栅异常也与字符显示电路不正常有关。
字符显示异常,多为字符呈全红或全绿、字符呈黑色等字符颜色异常;字符颜色随图像颜色不同而变化;以及字符位置不准,字符向左偏移或向右偏移等。光栅异常,有屏幕出现纯白色光栅,出现红色或绿色单基色光栅,还有出现黄色光栅。下而以东芝CTS—130型彩电字符显示电路为例(如图1所示),分析上述故障的原因。
该机字符显示电路由TC9020P(N702)担任。根据显像管屏幕显示原理,字符显示正常需要满足三个条件:一是要有正常显示用的时钟振荡信号,该振荡信号由N702 13、14、15脚内部电路及外接元件VR775、R776、C776组成;二是N702②、③脚必须输入行、场同步信号;三是从N702④脚Y端输出的字符亮度信号及⑤、⑥脚R、G端输出的与字符亮度信号内容完全相同的三种颜色字符色度信号,三者缺一不可。
当字符呈全红或全绿时,这是R或G字符显示信号之一丢失所致。以出现红色为例,从N702⑥脚输出的G字符色度信号经字符放大管V641放大后,由其c极输出至末级G视放管V621 c极(即显像管G阴极),在屏幕上图像被“消掉”的地方显示出功能字符。所以,这表明出现全红时,是G字符信号丢失,即N7026脚输出电路有元件开路所致。
字符呈黑色,表明电源供电和CPU输出的控制信号正常,N702④脚输出的字符亮度信号也正常,问题是图像上某些部分已被“消掉”所以字符才呈黑色。主要原因是N702性能不良,引起⑤、⑥脚同时无输出,或V641、V651两路同时开路。若R、G字符有一路正常,则字符颜色将不是黑色,而与正常的字符颜色相同。
字符颜色随图像颜色不同而变化这种故障与字符呈黑色恰好相反,表明R、G字符色度信号输出正常,而是字符亮度信号丢失,所以屏幕上字符位置上的图像未被“消掉”,使R、G颜色的字符与彩色图像颜色相混合,选成字符颜色随图像彩色不同而不断变化。其主要原因是N702④脚无输出,或C772短路漏电,R772、C773、V770、R778、D290开路失效,V770偏置不当使其处于截止状态,或C775短路漏电,VL777开路或12V电源供电失常等。
字符位置正确与否,主要由显示用振荡器振荡频率决定。字符有显示,只是显示位置偏移,表明CPU及其16、⑨脚供电正常,若字符向左偏移,说明振荡频率偏高,反之向右偏移,是频率偏低。只要调节电位器VR775改变振荡频率,即可改变字符在屏幕上出现的位置。若调节VR775字符仍不能恢复到正常位置,一般为VR775接触不良或损坏,C776漏电或开路失效。
当伴音正常而无图像,只有纯白光栅,或出现全红、全绿单基色光栅时,由于非遥控彩电也会出现此类故障,所以往往会误判扫描电路、视放电路、亮度通道、显像管及其供电电路等有故障。但是,因为遥控彩电是将字符亮度信号与图像亮度信号由V260混合后加至三只末级视放管e极的,同时由于R、G字符放大管c极分别与R、G末级视放管c极相连,因此遥控系统也会引起光栅异常。当出现光栅异常时,首先要区分故障部位。方法是:将D290、V641、V661断开,若光栅和图像恢复正常,可以肯定是字符显示电路有故障,否则应检查主机有关电路。
无图像而只有纯白光栅,其主要原因是V260击穿或漏电,使三个末级视放管e极电位降低,而使其饱和导通造成的。出现红色单基色光栅,有两个原因:一是字符放大管V651击穿或漏电;二是N702损坏后,其⑤脚直流电位升高,使V651处于导通状态。而这两种情况均可使显像管红电子枪电压由正常的130V左右下降至几十伏或更低,引起红枪阴极电流剧增,形成红基色光栅;同理,若N7021⑥脚电位升高使V641导通,或V641击穿漏电,将形成绿基色光栅。若⑤、⑥脚电位同时升高或V641、V651同时击穿漏电时,将形成黄色光栅。下面介绍几例字符、光栅异常的故障检修实例。
【例1】一台凯歌4C5401-1型彩电,字符向右拉长,屏幕显示字符间隔过宽,部分字符已超出屏幕右边缘,延伸到屏幕之外。
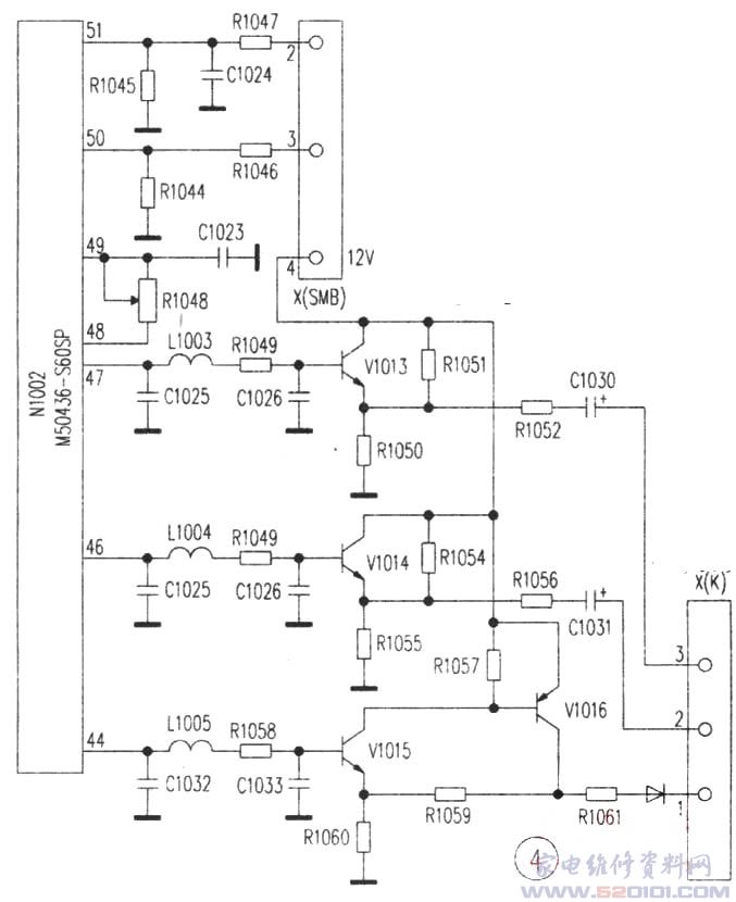
由字符显示原理得知,字符的水平宽度和间隔大小只取决于显示用时钟脉冲振荡频率,该机采用的CPU是M50436—560SP,如图2所示。振荡电路由CPU 48、49脚与外接元件组成。时钟频率不但影响字符显示的位置,还影响字符显示的大小。该故障通常是可调电阻R1036失调、接触不良或开路,经查,发现R1036因灰尘过多接触不良。更换R1036并重新调整,字符显示正常。
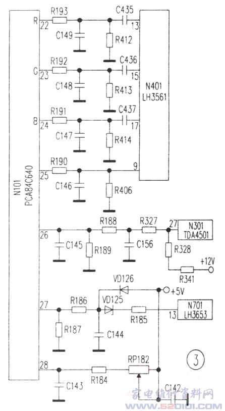
【例2】一台凯歌4C4705—2型彩电,图像清晰,而字符拖尾,不清晰。
遇到此类故障,首先观察图像是否清晰。如果整个图像模糊,字符也不清楚,故障为显像管加速极或聚焦电压不正常,应检查相关电路。而该故障只是字符模糊,则是字符电路高频跌落。该机采用CPU为PCA84C640如图3所示。检查C149、C148、C146相关电容,发现C146漏电。CPU 25脚输出消隐信号,经R190耦合至N401(LH3561)⑨脚,以消除字符显示位置上图像信号,使显示的字符清晰明亮。更换C146后,故障排除。
【例3】一台飞跃54CZY21—1型彩电,字符左右间断抽动。
字符的水平或垂直他置是由输入CPU的行、场逆程脉冲波形正常与否决定的。脉冲信号整形不理想,将会出现该故障。该机也采用M50436—560SP集成电路,如图4所示。从N1002 51、50脚分别输入行、场脉冲,检查波形整形钳位电路元件R1044、R1047、C1024,发现R1047变值,将其更换后故障排除。
【例4】机型同“例3”,字符边界拉丝。
该故障的发生原因是N1002 48、49脚R、C振荡波形不规则或是44脚输出的消隐信号波形发生畸变,使字符边界不齐。用示波器观察49脚波形正常,44脚信号波形也正常,但V1013 b极波形畸变。经查,发现C1033容量变小,将其更换后故障排除。
【例5】一台凯歌4C5401—1型彩电,图像正常,显示字符随图像颜色而变化。
图像及彩色正常,表明图像亮度信号及行、场消隐脉冲已经加入,V412以后电路无问题(见图2)。该故障有字符显示,但字符颜色随图像颜色而变化,表明无字符消隐信号。测N1003 44脚电压为0V,正常时为0.3V。在字符显示时此电压不变化,表明44脚没有输出消隐信号。检查44脚外接元件均正常,怀疑N1003 44脚内部电路损坏。更换N1003后,字符显不正常。
【例6】机型同“例5”,字符呈黑色。
字符呈黑色,表明字符消隐信号输出正常,仅是无R、G字符显示信号。故障原因初步判断为N1003 46、47脚外围电路有故障,使R、G字符显示信号被阻断,但这两者同时产生故障的可能性不大,怀疑是N1003 46、47脚同时无信号输出。更换N1003,字符颜色正常,故障排除。



