BX1303用在索尼中小屏彩电的伴音功放上。该厚膜块损坏后,备件难寻,故采用代换法解决。由于该厚膜块工作电压为115V,用变压器耦合输出,无法找到这么高工作电压的集成块代换,只有用分立元件代换。
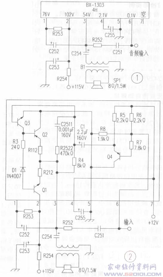
在代换前要分析该厚膜块每只脚的功能,及外围元件作用。BX1303外围电路如图1所示,其外形尺寸为45mm×25mm,各脚正常工作电压见图1。各脚功能如下:①脚内部功率管b极驱动电压;②脚总供电脚;③脚音频输出;④脚前置滤波;⑤脚接地;⑥脚音频输入;⑦脚空。R253为功放偏置电阻,C252输出负反馈至功放管b极,C253为115V电源滤波电容,R254为限流电阻、R252和C251移相反馈至前置放大级。
用分立元件代换原则:供电电压不变,外围元件不动,所用元件最少,功率与信噪比更高。按以上改装原则,笔者设计了如图2的代换电路。其中,Q1、Q2为功放管,型号为C4832/A1668三肯管;Q3为激励管,型号为MJE340;Q4为A1015。电阻、电容元件参数标在图2上。小板内电阻功率R112、R212为1W,其余为1/2W,其工作原理与一般OTL电路相同。
安装方法:用一块45mm×35mm实验板安装图2框内元件。Q1、Q2反面(铜板面)安装,均匀分布于45mm长度边上,其余元件安装于正面。Q1、Q2用φ3mm螺钉固定于原BX1303上,该散热片已预留了2个螺钉孔,Q1、Q2支撑小印刷板。
只要元件安装无误,开机即可正常工作。如不正常,测中点电压应在50V~60V之间,否则应停电检修。该代换板由于Q1、Q2、Q3用了高耐压、高频率、功率余量大的三极管,代换后功率和信噪比要好于BX1303,而且音质也好于BX1303。
版权声明:本文为转载文章,版权归原作者所有,欢迎分享本文,转载请保留出处!
