长虹LT3269液晶电视有声音无光栅的故障维修

2023-02-15 19:15:11  阅读 1294 次 评论 0 条
摘要:

接修一台长虹LT3269型液晶彩电(OEM唯冠产品),有伴音,黑屏,无光,分析应是背光电路有问题。拆去机盖看到是电源与背光一体板(注电源板简称IPOS150),欲将该板拆下来检修。”拔去主板输出排线,拆去

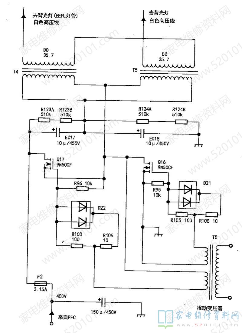
       接修一台长虹LT3269型液晶彩电(OEM唯冠产品),有伴音,黑屏,无光,分析应是背光电路有问题。拆去机盖看到是电源与背光一体板(注电源板简称IPOS150),欲将该板拆下来检修。”拔去主板输出排线,拆去固定螺钉,但其中背光输出的两条高压短引线是牢固地接在大插头插座旁边的铁支架上,欲将大插头拔下,但反复用力均无法拔下来,只能暂放置一边。取不下大插头,很短的高压输出线悬吊在半空,检修很不方便。反复观察,试将大插头座一起从铁支架上撬下,再用电工刀小心从插头与座缝隙撬动,使之分离,最后取下背光加电源板。先测T4、T5两个大升压变压器的输出端,直流电阻均为35.7Ω;再用变压器短路测试仪测试,均完好。

       直观检查,发现EC18(10uF/450V)电解电容鼓包失容,拆下EC17(10uF/450V)测量也失容了。问了好些元件商,均无10uF/450V的电解电容,只有10pF/400V的,最后只能找体积较大、质量好的两只10pF/400V电容换上。通电试机,依然无光,将功率驱动场效应管Q17、Q16拆下测量,发现Q17已短路。其型号为9N50CF(9A/500V),找到一只12N60(12A/600V)换上,再通电试机,测得Q17的D极无电压,测PFC滤波大电解电容正极电压约400V。沿着Q17的D极跟踪,找到不易发现的F2 (小圆柱形的保险管),拆下看标值3.15A,实测已开路。用CTR彩电3.15A保险管代换上后试机,亮丽的图像出现,使用几天后,交付顾客,经长时间使用均正常。相关电路见图1。

        注:EC17、EC18可用20uF/450V电容代替。

长虹LT3269液晶电视有声音无光栅的故障维修 第1张

版权声明:本文为转载文章,版权归原作者所有,欢迎分享本文,转载请保留出处!