“彩电电源电压升高的原因、关键电容及维修方法”一文中介绍了由于电解电容变质引起电源电压升高的故障,并给出了一些彩电中关键电容的位号。但这些电容在电路中起什么作用?如果你修的彩电电源在文章中没有介绍,你能否找到这些关键电容呢?
1.关键电容之一是开关管基极电解电容
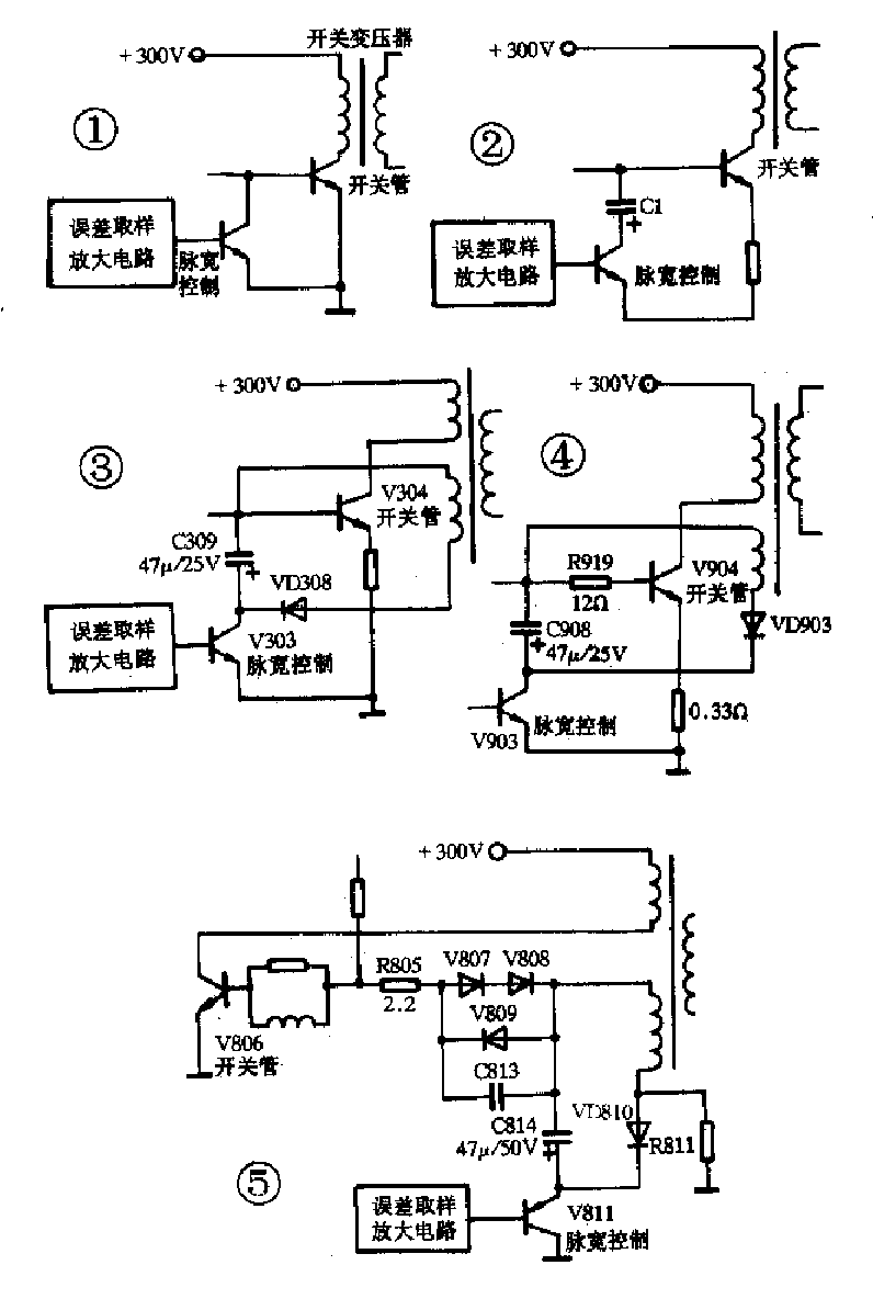
首先我们来看一下图1和图2所示电路,这两张简图所画的是开关电源中脉宽控制电路对开关管的控制方式,在绝大多数自激振荡型开关电源中都使用这两种控制方式。在图1所示电路中,脉宽控制管直接并联在开关管基极与发射极之间。而图2所示电路中脉宽控制管通过电解电容C1并联在开关管基极与发射极之间,这只电解电容C1就是可以引起开关电源输出电压升高的关键电容之一。
2.这个关键电容的作用
从图3~5还可以看出,关键电容和二极管(图3中的VD308、图4中的VD903、图5中的VD810)以及开关变压器的一个绕组组成了一个整流滤波电路。
那么这只关键电容C1的作用(说法)之一就是作为脉宽控制管的工作电源。很显然,如果电容C1损坏了,脉宽控制管的工作电源就出现了问题,脉宽控制管对开关管的控制作用减小,开关电源的输出电压自然要升高。
关键电容C1的作用(说法)之二:脉宽控制管导通时,通过C1给开关管基极加负偏压,使开关管截止。很显然,如果电容C1损坏了,脉宽控制管导通时间通过C1给开关管基极提供的负偏压减小,开关电源的输出电压自然要升高。
关键电容C1的作用(说法)之三:脉宽控制管导通时,通过C1对开关管基极电流分流,使开关管截止。很显然,如果电容C1不良,损耗加大,脉宽控制管对开关管基极电流的分流作用减小,开关电源的输出电压自然要升高。
3.关键电容之二是开关电源间接误差取样滤波电容
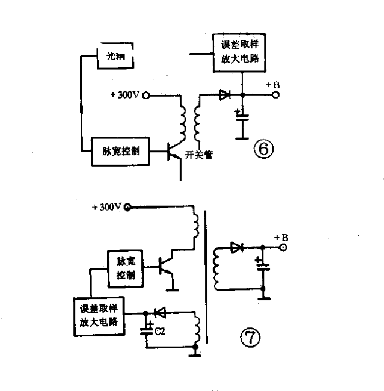
图6所示是开关电源误差取样电路方式之一,取样电压直接从+B电压分压取出,这种取样方式称为直接取样。在这种取样方式中,误差取样滤波电容就是+B滤波电容,而+B滤波电容损坏的机率相对较小。
图7所示是开关电源误差取样电路方式之二,在开关变压器上单独设立误差取样电压绕组和整流滤波电路,这种取样方式称为间接取样。在这种取样方式中误差取样滤波电容C2是可以引起开关电源输出电压升高的关键电容之二。误差取样滤波电容C2损坏后,误差取样电压减小,导致开关电源输出电压升高。
例外:在83P机心开关电源中,图7中电容C2由两只电容串联组成,当其中一只电容损坏后,开关电源输出电压将低到90V左右。[Page]
1.关键电容之一是开关管基极电解电容
首先我们来看一下图1和图2所示电路,这两张简图所画的是开关电源中脉宽控制电路对开关管的控制方式,在绝大多数自激振荡型开关电源中都使用这两种控制方式。在图1所示电路中,脉宽控制管直接并联在开关管基极与发射极之间。而图2所示电路中脉宽控制管通过电解电容C1并联在开关管基极与发射极之间,这只电解电容C1就是可以引起开关电源输出电压升高的关键电容之一。
2.这个关键电容的作用
从图3~5还可以看出,关键电容和二极管(图3中的VD308、图4中的VD903、图5中的VD810)以及开关变压器的一个绕组组成了一个整流滤波电路。
那么这只关键电容C1的作用(说法)之一就是作为脉宽控制管的工作电源。很显然,如果电容C1损坏了,脉宽控制管的工作电源就出现了问题,脉宽控制管对开关管的控制作用减小,开关电源的输出电压自然要升高。
关键电容C1的作用(说法)之二:脉宽控制管导通时,通过C1给开关管基极加负偏压,使开关管截止。很显然,如果电容C1损坏了,脉宽控制管导通时间通过C1给开关管基极提供的负偏压减小,开关电源的输出电压自然要升高。
关键电容C1的作用(说法)之三:脉宽控制管导通时,通过C1对开关管基极电流分流,使开关管截止。很显然,如果电容C1不良,损耗加大,脉宽控制管对开关管基极电流的分流作用减小,开关电源的输出电压自然要升高。
3.关键电容之二是开关电源间接误差取样滤波电容
图6所示是开关电源误差取样电路方式之一,取样电压直接从+B电压分压取出,这种取样方式称为直接取样。在这种取样方式中,误差取样滤波电容就是+B滤波电容,而+B滤波电容损坏的机率相对较小。
图7所示是开关电源误差取样电路方式之二,在开关变压器上单独设立误差取样电压绕组和整流滤波电路,这种取样方式称为间接取样。在这种取样方式中误差取样滤波电容C2是可以引起开关电源输出电压升高的关键电容之二。误差取样滤波电容C2损坏后,误差取样电压减小,导致开关电源输出电压升高。
例外:在83P机心开关电源中,图7中电容C2由两只电容串联组成,当其中一只电容损坏后,开关电源输出电压将低到90V左右。[Page]


版权声明:本文为转载文章,版权归原作者所有,欢迎分享本文,转载请保留出处!